变压器增加新负载,容量能否承受?你会计算吗
2023-02-20 科威
怎样确定变压器电压等级?
2023-02-15 科威
热电偶补偿原理知识分享
2023-02-06 科威
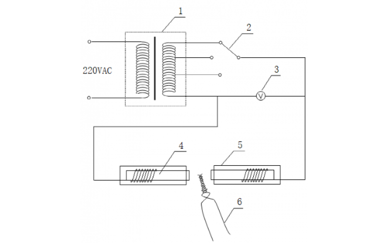
一种贵金属热电偶焊接装置
绝缘电缆中压开关柜应用
2023-01-13 科威
断路器的分类介绍
2023-01-09 科威
限制短路电流的措施
关于电动机启动及降压启动器知识介绍分享
2023-01-06 科威