高压并联电容器知识分享
2022-10-20 科威
固定式开关柜和抽出式开关柜知识介绍
2022-10-19 科威
110kV变避雷器故障分析-贵州科威
2022-09-14 科威
谐振,谐振过电压是什么?-贵阳科威
2022-09-08 科威
科威重庆-二次消谐装置能够保护PT,消除电网谐振过电压?
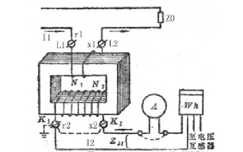
电压互感器与电流互感器的区别介绍
2022-08-22 科威电气
为什么开关柜内电磁式电压互感器故障率高
2022-07-16 科威电气