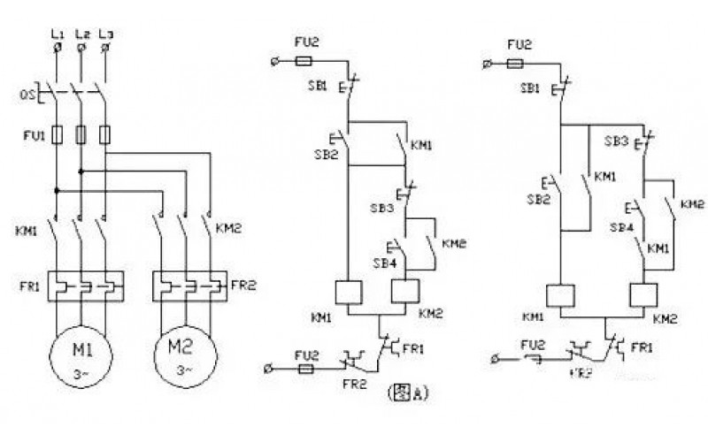
电动机控制线路故障查找方法
2023-02-06 科威
真空断路器知识介绍
2023-01-10 科威
开关柜熔断器的作用知识介绍
2023-01-05 科威
DCS与MCC接口原理分享
2022-12-27 科威
变压器非电量保护——保护继电器(瓦斯继电器)
2022-12-20 科威
URF-8N系列超声波物位计与LTZ-300系列雷达物位计的原理及特点
2022-12-06 科威
接触器应用知识分享
2022-12-01 科威
电气开关柜铜排电镀知识分享